Deprecated: Assigning the return value of new by reference is deprecated in /home/idealogi/public_html/malatbimmer.com/evolution/includes/db/db.php on line 379
malatbimmer.com › Forums › MB Classifieds › MB Request › looking for E30 M40 parts
 

Toggle Content Main Menu
 Fortress
 Community
 Malat Options
 Search

Toggle Content User Info
Welcome

Anonymous

Nickname
Password
Register

Membership:
Latest: sharizat83
New Today: 0
New Yesterday: 0
Overall: 1314

Online Now [1871]:
Visitors: 1871
Bots: 0
Members: 0
Page Views:
Today: 89630
Total: 28888320

Toggle Content Movie Trailers



Toggle Content Friends & Links






Community Forums
looking for E30 M40 parts
Request your specific cars, spareparts / products, anything under the sun. Trade, Swap or WTB (Wanted to buy)
Post new topic   This topic is locked: you cannot edit posts or make replies.   Printer Friendly Page     Forum IndexMB Request
View previous topic :: View next topic  
Author Message
lempeng7
.com Member
.com Member


Joined: Sep 19, 2008
Posts: 35

PostPosted: Tue Mar 31, 2009 5:43 am    Post subject: looking for E30 M40 parts Reply with quote

Dear All,

I'm currently looking for below parts:-

1) Steering column for E30 M40
If can get the whole set will be better or just the steering coupling only.
(Sorry, if the name is wrong.I don't know the right name)



2) Wiper rod ( connect between left wiper and right wiper)
If can, need the whole set.
I cannot find any pic from realoem.com




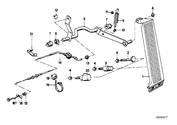
3) Accelerator E30 M40 (part #5)


Pls sms or call me at this number, 012-2180781 (yazid)

Thank you.


Last edited by lempeng7 on Tue Mar 31, 2009 1:00 pm; edited 1 time in total
View user's profile
evilnickwong
Official Member
Official Member


Joined: Apr 21, 2008
Posts: 406
Location: TTDI, KL

PostPosted: Tue Mar 31, 2009 11:06 am    Post subject: Re: looking for E30 M40 parts Reply with quote

When you say steering coupling, are you just referring to the rubber coupling (part #3)? If yes, that's only about RM30+ new.

But if you're referring to the whole set, its gonna be damn expensive brand new. I checked because mine are worn abit too. The u-joints (part #1 and #5) are RM1100+ and RM650+ each brand new.

I haven't bothered to go check chop shops for them yet lol.

_________________
View user's profile
chriseunos
Official Member
Official Member


Joined: Oct 31, 2007
Posts: 1081

PostPosted: Wed Apr 01, 2009 11:40 am    Post subject: Re: looking for E30 M40 parts Reply with quote

chop shop should be half price...but not sure of the condition la...

_________________
View user's profile
highwaystar
MB Official
MB Official


Joined: Jun 13, 2006
Posts: 5329
Location: Kola Lompuer

PostPosted: Thu Apr 02, 2009 5:11 am    Post subject: Re: looking for E30 M40 parts Reply with quote

Steering Coupling Set
RM200

Call me 0178793243

_________________
View user's profile Photo Gallery
lempeng7
.com Member
.com Member


Joined: Sep 19, 2008
Posts: 35

PostPosted: Fri Apr 03, 2009 2:27 pm    Post subject: Re: looking for E30 M40 parts Reply with quote

Bro Highwaystar,
Thank very much for your offer and I'm really appreciate that.

But I had found all above item and it was supplied by Ubartsanz.

kudos to Ubartsanz....


Thank you all.....:)

Now, I'm happy...yeaaaaa......
Maybe next time, I will look into different parts....maybe...
View user's profile
evilnickwong
Official Member
Official Member


Joined: Apr 21, 2008
Posts: 406
Location: TTDI, KL

PostPosted: Fri Apr 03, 2009 3:56 pm    Post subject: Re: looking for E30 M40 parts Reply with quote

Just curious, how much did you get the steering coupling parts? Was wondering if it included the Ujoints too? Smile

_________________
View user's profile
highwaystar
MB Official
MB Official


Joined: Jun 13, 2006
Posts: 5329
Location: Kola Lompuer

PostPosted: Sat Apr 04, 2009 6:02 am    Post subject: Re: looking for E30 M40 parts Reply with quote

lempeng7 wrote:
Bro Highwaystar,
Thank very much for your offer and I'm really appreciate that.

But I had found all above item and it was supplied by Ubartsanz.

kudos to Ubartsanz....


Thank you all.....:)

Now, I'm happy...yeaaaaa......
Maybe next time, I will look into different parts....maybe...

No problem, Congrats. anyway where is Bart now?

evilnickwong wrote:
Just curious, how much did you get the steering coupling parts? Was wondering if it included the Ujoints too?

What U joint bro? The coupling parts now with me. Got it for RM200.

since lempeng already got, it is up fer sale. Cheers

_________________
View user's profile Photo Gallery
evilnickwong
Official Member
Official Member


Joined: Apr 21, 2008
Posts: 406
Location: TTDI, KL

PostPosted: Sat Apr 04, 2009 12:20 pm    Post subject: Re: looking for E30 M40 parts Reply with quote

Part 1 and 5 in the first image bro. Those are the U joints. Smile

_________________
View user's profile
highwaystar
MB Official
MB Official


Joined: Jun 13, 2006
Posts: 5329
Location: Kola Lompuer

PostPosted: Mon Apr 06, 2009 2:12 am    Post subject: Re: looking for E30 M40 parts Reply with quote

evilnickwong wrote:
Part 1 and 5 in the first image bro. Those are the U joints. Smile

yup included Laughing

_________________
View user's profile Photo Gallery
evilnickwong
Official Member
Official Member


Joined: Apr 21, 2008
Posts: 406
Location: TTDI, KL

PostPosted: Mon Apr 06, 2009 2:32 am    Post subject: Re: looking for E30 M40 parts Reply with quote

Ooh you have! Is there any rattle in the U joints? If they are still tight, I want!

_________________
View user's profile
highwaystar
MB Official
MB Official


Joined: Jun 13, 2006
Posts: 5329
Location: Kola Lompuer

PostPosted: Mon Apr 06, 2009 2:34 am    Post subject: Re: looking for E30 M40 parts Reply with quote

cun cun wei... you can inspect/check first.

_________________
View user's profile Photo Gallery
highwaystar
MB Official
MB Official


Joined: Jun 13, 2006
Posts: 5329
Location: Kola Lompuer

PostPosted: Mon Apr 06, 2009 2:40 am    Post subject: Re: looking for E30 M40 parts Reply with quote

Requested parts submitted by member lempeng7 has found his parts.
topic closed.

for the parts that offered in this thread please refer to this
seller www.malatbimmer.com/ev...=3029.html

_________________
View user's profile Photo Gallery
Display posts from previous:   
Post new topic   This topic is locked: you cannot edit posts or make replies.   Printer Friendly Page     Forum IndexMB Request All times are GMT + 8 Hours
Page 1 of 1


Jump to:  
You cannot post new topics in this forum
You cannot reply to topics in this forum
You cannot edit your posts in this forum
You cannot delete your posts in this forum
You cannot vote in polls in this forum
You cannot attach files in this forum
You cannot download files in this forum


Interactive software released under GNU GPL, Code Credits, Privacy Policy